| নং | শিরোনাম | সেবার ধাপ | কার্যকলাপ |
|---|---|---|---|
| | |||
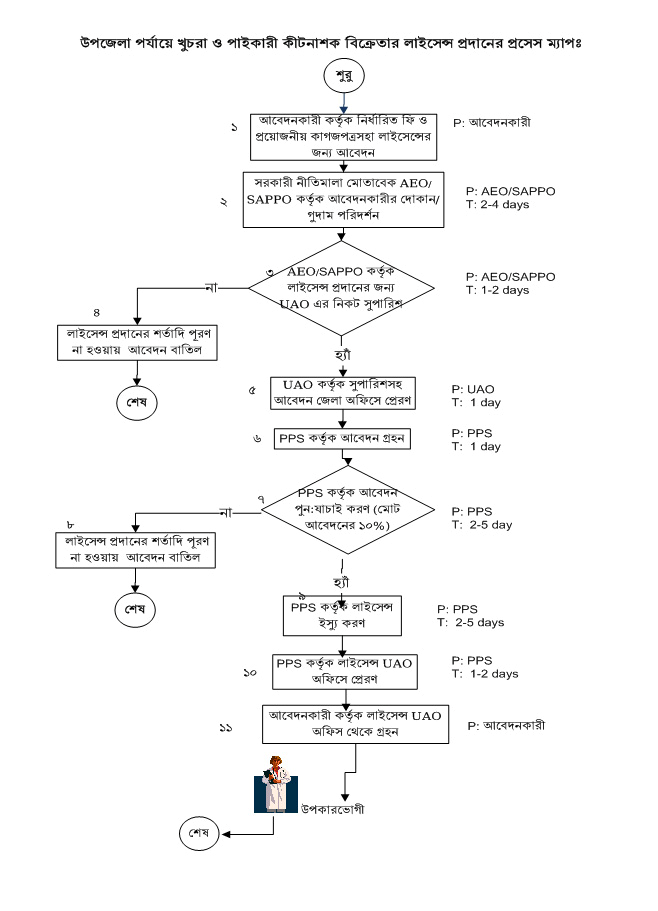
| ১ | বালইনাশক লাইসেন্স প্রদান/ নবায়ন | দেখুন | |
| ২ | কৃষি প্রণোদনা / পুনর্বাসন কার্যক্রম বাস্তবায়ন | দেখুন | |
| ৩ | উপজেলা পযায়ে সার ডিলার নিয়োগের প্রসেস ম্যাপ | দেখুন | |
| ৪ | লাইসেন্স | দেখুন | |
| ৫ | মাটি ব্যবস্থাপনা | দেখুন | |
| ৬ | প্রশিক্ষণ | দেখুন | |
| ৭ | সার | দেখুন | |
| ৮ | বালাই ব্যবস্থাপনা | দেখুন | |
| ৯ | ভর্তূকী | দেখুন | |
| ১০ | ফসলের জাত | দেখুন |